转炉出钢口改造施工方案的优化与实施论文
2025-08-29 15:50:35 来源: 作者:xuling
摘要:在钢铁生产领域,转炉是核心生产设备之一,其出钢口的性能和状态直接影响到生产的连续性、钢水质量以及生产成本。文章围绕某钢厂1#转炉圆形出钢口更换项目展开,详细阐述施工方案的制定、优化过程及其具体实施情况。
摘要:在钢铁生产领域,转炉是核心生产设备之一,其出钢口的性能和状态直接影响到生产的连续性、钢水质量以及生产成本。文章围绕某钢厂1#转炉圆形出钢口更换项目展开,详细阐述施工方案的制定、优化过程及其具体实施情况。通过对施工准备、施工步骤、质量控制、安全管理等方面的深入分析,总结出高效、安全、质量可靠的转炉出钢口更换施工方法,为钢铁企业类似设备检修维护提供借鉴。
关键词:转炉;出钢口更换;施工方案;质量安全控制
钢铁生产过程中,随着转炉使用周期的增加,出钢口会因高温、钢水冲刷等因素出现磨损、变形等问题,严重影响生产效率与产品质量。某炼钢厂为保障生产的稳定高效运行,在2025年高炉大修期间,同步对1#转炉圆形出钢口进行更换作业。施工方案旨在通过科学合理的规划与实施,确保出钢口更换工作能够安全、高效、高质量地完成,对提升钢铁生产设备的运行效率和稳定性具有重要的现实意义。
1施工方案制定
1.1工程概况
某钢厂炼钢厂的1#转炉圆形出钢口更换工程,计划于2025年高炉大修期间同步开展。在施工前,需全面且细致地做好各项准备工作,涵盖备件、工器具、消耗材料的筹备,以及危险预知和安全防范措施的制定。施工期间,必须严格按照新钢铁标准化作业要求以及国家相关规范执行,以保障施工的质量与安全。

1.2编制依据
本施工方案的编制依据主要包括GB 50231—2009(机械设备安装工程施工及验收规范通用规定》[1]和GB 50403—2017《炼钢机械设备工程安装及验收规范》[2],这些是确保施工符合行业基本要求的基石;通过现场踏勘所获取的实际情况以及相关图纸,为方案的针对性和可行性提供了现实依据;钢铁企业在承担类似检修项目时留存的有关档案资料,能够借鉴过往经验,避免重复错误,提高施工效率;同时,设计图纸要求以及某钢厂提供的书面技术质量要求资料,明确了施工的具体标准和特殊要求。
2施工准备
2.1备件及材料准备
依据设计图纸要求,对新圆形出钢口备件的尺寸进行严格验收,确保其各项参数符合设计标准。加工尺寸分别为长525mm、宽80mm、厚12.5mm及长525mm、宽80mm、厚25mm的定位板,定位板的精度将直接影响新出钢口的安装位置准确性。全面准备工器具、安全防护用品及消耗材料,特殊焊材CHT711由乙方提供,保证材料的供应满足施工进度需求,且质量可靠。
2.2设备及场地准备
将新圆形出钢口备件妥善运输至转炉炉前8.9m平台的指定位置,确保运输过程中备件不受损坏。精确确认转炉的机械0位与画面相符,为后续施工的准确性提供保障。转炉停炉后,严格执行三方确认停电挂牌制度,在炉下东西两侧拉设警戒线,并安排专人进行监护,杜绝无关人员进入施工区域,营造安全的施工场地环境。
3施工步骤
3.1旧出钢口拆除
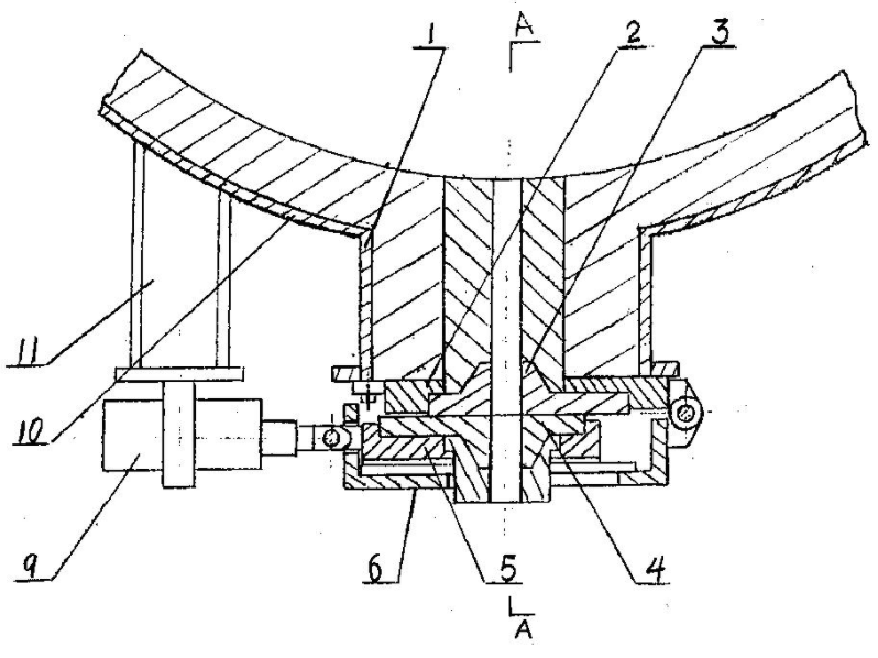
转炉停炉达到安全施工条件后,由三方共同确认停电挂牌操作完成,在炉下东西两侧拉设醒目的警戒线,并安排专人负责监护,防止意外发生。将转炉炉口摇至0。方向,打开炉后挡火门,使用3t叉车在炉后放置检修大架。随后,对原出钢口的标高、中心线、东西方向距离位置等原始数据进行精确测量,并将相关数据标记在出钢口下方的筋板处,采用焊接记号的方式确保数据标记牢固、清晰。原始数据测量完成后,仔细核实其与图纸的偏差,确认无误后,将原出钢口与炉体筋板进行切除操作。若炉体温度过高,为保证切割作业安全和切割质量,可将转炉炉口摇至90。方向在炉外进行切割。
3.2新出钢口安装
通过天车或拆炉机将新出钢口吊运至炉体出钢口位置并进行初步固定,吊运过程中需确保新出钢口的平稳和准确就位。新出钢口固定后,将炉口摇至0。位置,在炉后搭设检修平台,并在出钢口上方合适位置设置吊点,以便后续调整和固定作业。也可采用备选方案,将新出钢口放置在一体车的钢板上,在炉子内部搭设平台,使用倒链将其拉上来进行定位,根据现场实际情况选择更合适的安装方式。出钢口定位后,将炉口摇至-95。位置利用10#槽钢和4.5mm花纹板在炉口至炉内出钢口位置搭建简易平台,平台的搭建严格遵循《固定式钢梯及平台安全要求(第3部分:工业防护栏杆及钢平台)》(GB 4053.3—2009)的相关要求,确保平台的安全性和稳定性,为施工人员提供可靠的作业平台。
在出钢口下方铺设提前加工好的定位板(厚12.5mm、25mm),并使用专业工具进行固定,通过定位板的精确安装确定出钢口的中心位置。将出钢口中心点与炉体中心点(或参考出钢口下方筋板中心线)进行精准对中,结合图纸要求以及原始测量数据,对出钢口的长度和法兰面东西侧方向进行细致调整,调整完成后进行焊接定位,确保出钢口安装位置符合设计要求,误差控制在允许范围内。结合图纸及原始数据,确定新出钢口位置。相关尺寸(出钢口中心水平线、中心线与筋板支架的距离;出钢口法兰平行与下方两侧垂直筋板支架延伸线的距离)。出钢口定位后,测量炉体与新出钢口缺口部分(四个角的空缺位置)进行下料补缺焊接,焊接完成后在炉内对新出钢口多余部分切除。使用E5016焊条或气保焊机(焊丝CHT711)进行连续焊接作业。
3.3焊接作业
采用E5016焊条或气保焊机(焊丝CHT711)进行连续焊缝焊接。在焊接前,对焊条和钢板焊接处进行预热,预热温度不低于150℃,以降低焊接应力,防止出现焊接裂纹等缺陷。在坡口内每隔300~400mm进行定位焊,定位焊缝长度控制在50~80mm,厚度不小于正式焊缝厚度的2/3,定位焊使用与正式焊接相同的焊材与工艺,定位焊后严格检查焊点质量,若发现裂纹、气孔等缺陷,立即进行清除并重焊[3]。
焊接过程中,严格控制层间温度在150~250℃,采用红外测温仪进行实时监测,当温度过高时暂停焊接,待冷却至规定范围后继续施焊,避免因温度过高导致晶粒粗大,影响接头性能。遵循先纵缝后横缝、对称施焊的原则,对于大型炉壳分区域焊接时,合理安排各区域焊接进度,使其保持均衡,防止产生过大拘束应力,引发焊接变形与裂纹。例如,纵缝可由两名焊工从中间向两端同步施焊,横缝分组对称焊接。
对所有纵横焊缝(即100%)进行无损探伤,按照《承压设备无损检测第3部分:超声检测》(NB/T 47013.3—2015)[4]中规定的超声波检测方法进行检测,检测结果Ⅱ级为合格。所有纵横焊缝还需100%进行磁粉检查,检查等级按《承压设备无损检测第4部分:磁粉检测》(NB/T 47013.4—2015)质量分级中的Ⅱ级标准执行,其余焊缝抽检30%按上述要求检查,确保焊缝质量达到高标准。
3.4后续工作
炉内焊接完成后,将炉口摇起至斜向上位置,在炉后使用3t叉车放置检修大架,对新出钢口与炉体筋板位置进行焊接。炉壳位置切割好后,打55。~65。V型坡口并进行打磨处理,炉体焊接采用气保焊机,焊条为CHT711,焊接电流控制在240~300A。焊接一遍后,用电锤对焊缝进行敲击,以消除应力,防止应力集中[5]。焊完后进行热处理,采用贴片保温方式,在400℃以下,升温速度不超过50℃/h;400~600℃区间,升温速度控制在80℃/h;600℃以上至热处理温度,升温速度不超100℃/h。选定600~650℃为保温温度区间,依据炉壳厚度与尺寸,保温时间按每25mm厚度1h计算,70mm厚钢板保温时间约3h。降温时,400℃以上降温速度不超过80℃/h,400℃以下可自然冷却,降温过程中不得强制通风冷却,以免产生新的应力。
使用专业工具对焊缝进行全面打磨检查,仔细观察焊缝表面有无气孔、夹渣、裂纹等缺陷,对发现的问题及时进行修复处理,保证焊缝表面质量符合要求。按照规定的检测标准和方法,对所有纵横焊缝进行无损探伤检测,确保焊缝内部质量合格。待砌砖工作完成后,安装法兰盖板(使用M64×220螺栓8颗)、夹块夹楔三套及法兰端盖,确保各部件安装牢固,设备整体密封性良好。
4质量控制
4.1技术交底
在施工前,安排专职技术人员对参与作业的人员进行详细的技术交底。交底内容涵盖施工工艺、质量标准、操作规范等方面,通过书面文件、现场讲解、实际演示等多种方式,确保作业人员充分理解施工要求,明确质量控制要点,做到心中有数,在施工过程中能够严格按照交底内容进行操作。
4.2过程控制
出钢口的定位工作必须严格符合图纸要求,在定位过程中,使用高精度的测量仪器对出钢口的各项参数进行测量,并详细填写测量记录。测量数据完成后,由施工方、监理方和建设方三方共同确认签字,确保数据的准确性和可靠性。施工完毕后,依次进行单机试车和联动试车。在试车过程中,由生产岗位和检修人员共同对设备各部位的运行情况进行全面检查,包括设备的运转是否平稳、各连接部位是否牢固、出钢口的密封性能是否良好等,验收各项性能是否符合技术规范要求。确认无误后,双方办理正式的交接手续,完成施工质量验收工作。
5安全管理
5.1安全交底与培训
在作业前,根据具体的作业内容,对作业人员进行详细的班前安全交底。交底内容包括对作业过程中可能存在的危险源进行全面预知,制定切实可行的预防措施,确保每个作业人员都清楚了解作业过程中的安全风险和应对方法。同时,对作业人员的身体状况进行检查,确保其身体健康,符合现场作业条件,避免因身体原因引发安全事故。
5.2安全措施执行
针对动火作业,严格执行动火审批制度,在作业前按照规定履行申请手续,经审批通过后方可进行作业。作业前,对施焊现场10m内的易燃易爆物品进行彻底清理,采取有效的防护措施,如设置防火挡板、配备灭火器材等。作业人员必须正确穿戴焊工工作服、焊工面罩等劳动防护用品,气割作业时需戴好防护眼镜,防止动火作业时产生的火花灼伤身体。在作业过程中,对电焊机一二次线的绝缘情况进行检查,确保电缆(线)无裸露现象,一二次线保护罩完好。焊接时,二次线与地线应一同铺设,避免将地线接于管架或其他旧管道上,同时保证电焊线摆放整齐,放置在干燥通风、防雨、无易燃物的地方,不得随意乱拉,且一次线不长于5m,二次线不长于30m,接线接头牢固可靠。
高空作业人员必须正确佩戴安全帽,系好双背安全带,并将安全带高挂低用,在移动过程中确保有一根绳子始终处于拴好状态,避免双钩同时脱离。遇有恶劣气候,如风力6级以上、雷暴大雨等影响施工安全的情况时,严禁进行露天登高作业。在作业过程中,将工具进行生根处理,小件物品装入箱袋并妥善放置,防止物品高空坠落伤人。
起重作业严格执行起重“十不吊”规定,严禁歪拉斜吊。每次吊装作业前,安排专人对吊具、索具进行认真检查,确保其无缺陷、合格可用。在吊装起吊前,对吊物进行仔细检查,清除吊物上可能存在的螺栓或小构件等,防止在吊装过程中坠落伤人。在吊装区域设置明显的安全警示绳,严禁无关人员进入吊装范围内。起重工必须持证上岗,指挥手势和哨音要正确、清晰,确保与吊车司机之间的信号沟通准确无误。
移动用电工机具在使用前进行绝缘检查,确保电线无破损。在用电设备使用过程中,安排专业电工每天进行检查维护,及时发现并处理潜在的安全隐患。在进行接线操作时,确保接线接头牢固可靠,电机线采取架空或铺地放置并加装防护罩的方式进行防护。在停送电操作时,严格执行三方确认、停电挂牌制度,多余人员离开现场,防止误送电引发安全事故。

6施工方案优化
在施工过程中,根据现场实际情况对施工方案进行动态优化。例如,在吊运新出钢口时,对比天车和拆炉机吊运方式的优缺点。天车吊运具有起吊高度大、覆盖范围广的优势,但在炉内空间有限的情况下,操作灵活性可能受限;拆炉机吊运则在炉内近距离操作时更为灵活,但起吊重量和高度相对有限。通过对现场空间、新出钢口重量和尺寸等因素的综合评估,选择更为高效、安全的吊运方法,提高施工效率,降低安全风险。
在焊接作业中,根据现场焊接位置的空间大小、焊接角度以及焊件的厚度等实际条件,灵活调整焊接工艺参数。对于空间狭小、焊接角度刁钻的位置,适当降低焊接电流和焊接速度,以保证焊接质量;对于较厚的焊件,增加焊接层数和焊接线能量,确保焊缝根部焊透。通过这些优化措施,提高焊接质量和施工效率,减少焊接缺陷的产生。
7结论
综上所述,某钢厂1#转炉圆形出钢口更换施工方案通过精心的制定、充分的施工准备、严格按照施工步骤执行、有效的质量控制和全面的安全管理,确保了更换工作的顺利完成。在施工过程中,根据实际情况对方案进行优化措施,进一步提高了施工效率和质量,保障了施工过程的安全可靠。该方案为钢铁企业类似设备的检修维护提供了宝贵的实践经验,对保障钢铁生产设备的稳定运行具有重要的参考价值,有助于推动钢铁行业设备检修技术的不断发展和完善。
参考文献
[1]中华人民共和国住房和城乡建设部.机械设备安装工程施工及验收通用规范:GB 50231—2009[S].北京:中国计划出版社,2009.
[2]中国冶金建设协会.炼钢机械设备工程安装及验收规范:GB 50403—2017[S].北京:中国计划出版社,2017.
[3]全国冶金设备标准化技术委员会.重型机械通用技术条件第3部分:焊接件:GB/T 37400.3—2019[S].北京:中国标准出版社,2019.
[4]全国锅炉压力容器标准化技术委员会.承压设备无损检测第3部分:超声检测:NB/T 47013.3—2015[S].北京:中国标准出版社,2015.
[5]机械工业冶金设备标准化技术委员会.焊接件通用技术条件:JB/T 5000.3—2007[S].北京:机械工业出版社,2007.